岸边集装箱起重机锚定装置的分析︱港口装卸机械

现今随着全球航运业的蓬勃发展,集装箱船为了提高装载能力,船的外形越来越大。为了与集装箱船相匹配,岸桥的外形尺寸也随之增大。前伸距由35 ~ 38 m增加到了60 ~ 65 m,甚至达70 m 以上。轨道面上的起升高度也由30 m 左右直至超过50 m。伴随着岸桥外形尺寸的大型化,整机的迎风面积、风作用的高度和风力矩也随之增加了许多。因此,非工作工况(暴风)下,锚定装置所需抵抗的锚定力也变得越来越大。目前世界上绝大多数的岸桥锚定装置形式还是采用传统的插入板(销)式锚定装置, 但锚定装置的形式是受码头预埋锚定坑形式制约的。

1码头预埋锚定坑在岸桥泊位处的位置布置

岸桥上配套的锚定装置需与码头上的土建设施(预埋锚定坑)结合使用才能起到防风抗滑作用,因此两者需相互匹配。
通常一台岸桥在一个泊位处配置4 个锚定坑,即在海、陆侧轨道各设置一组锚定装置,每组锚定装置在同一垂直于轨道线上,在轨道两侧各设1 个锚定坑,见图1。
岸边集装箱起重机锚定装置的分析︱港口装卸机械
1、2. 锚定坑
图1 一处岸桥泊位4 个锚定坑( 单轨道双锚定坑)
也有一些码头,在每台岸桥的泊位处配置2 个锚定坑,即在海、陆侧轨道各设置一组锚定装置,每组锚定装置在垂直于轨道线上,在轨道海侧或陆侧设置1 个锚定坑,见图2。
岸边集装箱起重机锚定装置的分析︱港口装卸机械
1. 锚定坑
图2 一处岸桥泊位2 个锚定坑( 单轨道单锚定坑)
在一个岸桥泊位处配置3 个锚定坑,这样的码头也是存在的,即海侧锚定装置设置1 个锚定坑,陆侧锚定装置设置2 个锚定坑,或海、陆侧锚定坑数量反之。

2码头预埋锚定坑的形状与使用的问题

码头预埋锚定坑制作成矩形的较为常见,故锚定装置多配置锚定插板。也有码头预埋锚定坑制作成圆形或椭圆形,所占比例相对较少,与此类坑相匹配的锚定装置插入部分一般设计成锚定插销形式。从受力情况和现场使用两个方面对比分析,锚定装置采用插板形式会优于锚定插销形式。
2.1 受力情况分析
锚定板(销)受力图及截面见图3。
岸边集装箱起重机锚定装置的分析︱港口装卸机械
图3 锚定板(销)受力图及截面
通过计算可知,在同等条件下,要承受同样大小的锚定力,圆形锚定销所需的占地面积和质量约为矩形锚定插板的1.3 倍。考虑到锚定坑的占地面积受码头结构布置的限制,有时候可用的空间有限。因此同样情况下,占地面积小的矩形坑有一定优势,并且对于岸桥上的锚定装置结构布置来说,也较为有利。同时对于目前大多数采用人工手动操作的锚定装置,锚定板(销)的重量轻一些也更便于操作。
2.2 码头现场的实际使用情况
由于码头建造以及岸桥制作过程中不可避免会存在一些误差,往往竣工后的码头预埋件位置以及岸桥上的锚定装置都会与图纸尺寸存在着一定的偏差。根据实际经验,一批岸桥发运至码头后,总会有锚定板(销)无法顺利插进码头预埋件。甚至同一台岸桥在同一个码头的1 号泊位能顺利进入锚定坑,移动到了2 号泊位就出现无法插入锚定坑的情况。并且对于岸桥这种大型设备,在长时间的使用过程中会出现跑偏问题,也会造成锚定装置无法顺利插入锚定坑的情况。
假定在设计时,锚定板(销)与预埋锚定坑四周预留有相同大小的间隙,当预埋锚定坑或锚定装置的实际位置与图纸理论位置同时在2 个方向上产生X 的偏差量(见图4)。
岸边集装箱起重机锚定装置的分析︱港口装卸机械
(a) 矩形锚定坑 (b) 圆形锚定坑
图4 锚定板(销)与锚定坑定位产生偏差
对比可见,同样偏差的情况下,矩形锚定板仍可以顺利插入锚定坑,但圆形锚定销的边缘区域已经发生了干涉。

3码头预埋锚定坑的深度问题

关于锚定板(销)的插入深度,通常推荐不少于140 ~ 150 mm,即埋入码头的锚定坑的深度不应小于150 mm。为了锚定板(销)能顺利插入码头锚定坑,设计时在沿大车轨道方向预留有一定量的间隙。对于插入深度的要求是为了保证锚定板(销)在受力时不会跳出锚定坑(实际受力中的锚定板(销)会有一定的倾斜)。

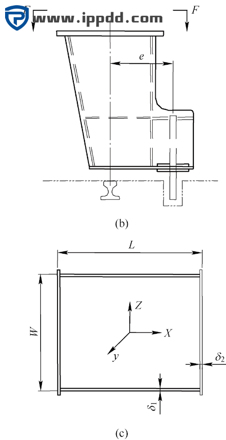
4 锚定装置结构受力分析

锚定装置通常位于海陆侧下横梁的正下方(有的位于大车行走机构的大平衡梁下方),考虑到岸桥采用整机发运至用户码头的运输方式,岸桥在装卸过程中需避让码头上的系缆桩和海运绑扎撑杆,故锚定装置与岸桥结构之间的连接形式基本以水平法兰为主。锚定装置法兰面处的受力见图5。
岸边集装箱起重机锚定装置的分析︱港口装卸机械
(a)单轨道双锚定坑结构形式 (b)单轨道单锚定坑结构形式
(c)结构法兰面(旋转90°)
图5 锚定装置结构示意图
对于单轨道双锚定坑的锚定装置,两侧的锚定板(销)分别受力F /2(方向相同),受力点至法兰面中心的距离分别为e 和-e ,故在法兰平面内形成一对绕Z 轴大小相等,方向相反的扭矩,最终相互抵消。
在锚定装置的结构形式、大小、板厚、受力完全相同的情况下,单轨道单锚定坑的锚定装置比单轨道双锚定坑的锚定装置,在法兰面处的结构应力要多承受一个扭转应力。如结构应力值超过规定的许用应力,则必须通过增加板厚、加大结构截面等等手段来降低应力值。一般会优先选择增大结构截面来降低应力值,但结构截面大小往往受到岸桥整体布置空间的限制,有时不能做得很大。因此,可以避免结构受扭转应力的单轨道双锚定坑比单轨道单锚定坑的形式在受力上更具优势,但双锚定坑比单锚定坑又会多一个产生不入坑偏差的因素,可谓各有利弊。

5结论

1)对于所在地暴风风速较小(非工作风速40 m/s及以下),非深水港,无法停靠大型船舶,且码头承载能力较小(即许用轮压较小),规划中采购小型岸桥的码头。
考虑到岸桥机型小,相应的整机迎风面积也小,再加上风速不大,故实际所需抵抗的单轨最大锚定力也不会很大。对于此类型的码头推荐采用单轨道单锚定坑形式,锚定坑的中心线(海陆侧方向)至大车轨道中心的距离不宜过大,可控制在500 mm 左右。
2)对于所在地暴风风速较大(非工作风速55 m/s及以上),深水港,可停靠大型船舶,且码头承载能力较大(即许用轮压较大),规划中拟采购大型、超大型岸桥的码头。
考虑到岸桥机型大,相应的整机迎风面积也大,再加上风速大的话,故实际所需抵抗的单轨最大锚定力会比较大。对于此类码头推荐采用单轨道双锚定坑形式,锚定坑宜采用矩形坑,每侧锚定坑的中心线(海陆侧方向)至大车轨道中心的距离不宜小于500 mm。
3)从不增加整机额外力矩的角度考虑,锚定坑的位置通常推荐布置在岸桥停机位的中心线(即位于岸桥整机的中心线)上。
声明:本站所有文章,如无特殊说明或标注,均为本站原创发布。任何个人或组织,在未征得本站同意时,禁止复制、盗用、采集、发布本站内容到任何网站、书籍等各类媒体平台。如若本站内容侵犯了原著者的合法权益,可联系我们进行处理。
岸桥

论文转载 | 岸边桥式起重机大车车轮结构优化设计

2022-5-25 14:21:40

岸桥港口管理

岸边集装箱起重机大车电气布置及 电气支架固定形式改进︱港口装卸机械

2022-6-1 23:52:55

个人中心
购物车
优惠劵
今日签到
有新私信 私信列表
搜索